おかげさまで開設25周年WWW.COMODIDADES.ES 創業祭

WWW.COMODIDADES.ES

詳しくはこちら
マイストア マイストア 変更
  • 即日配送
  • 広告
  • 取置可能
  • 店頭受取

HOT ! 当時物 タミヤクラッドバスター 14.4v仕様 動作確認済 部品欠品あり

※WWW.COMODIDADES.ES 限定モデル
YouTuberの皆様に商品の使い心地などをご紹介いただいております!
紹介動画はこちら

ネット販売
価格(税込)

22000

  • コメリカード番号登録、コメリカードでお支払いで
    コメリポイント : 7ポイント獲得

コメリポイントについて

購入個数を減らす
購入個数を増やす

お店で受け取る お店で受け取る
(送料無料)

受け取り店舗:

お店を選ぶ

近くの店舗を確認する

納期目安:

13時までに注文→17時までにご用意

17時までに注文→翌朝までにご用意

受け取り方法・送料について

カートに入れる

配送する 配送する

納期目安:

2026.03.23 12:36頃のお届け予定です。

決済方法が、クレジット、代金引換の場合に限ります。その他の決済方法の場合はこちらをご確認ください。

※土・日・祝日の注文の場合や在庫状況によって、商品のお届けにお時間をいただく場合がございます。

即日出荷条件について

受け取り方法・送料について

カートに入れる

欲しいものリストに追加

欲しいものリストに追加されました

当時物 タミヤクラッドバスター 14.4v仕様 動作確認済 部品欠品ありの詳細情報

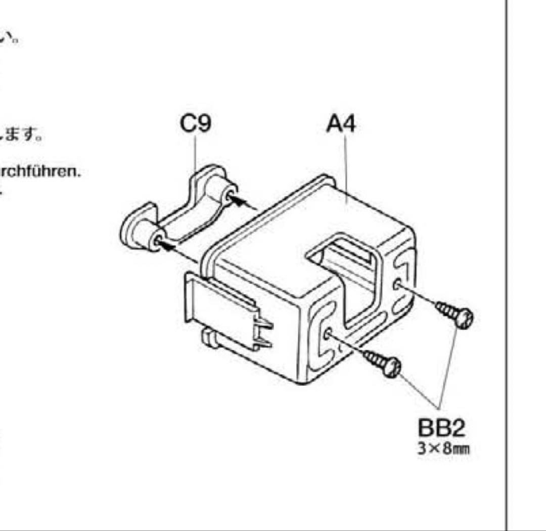
動作確認済みです。AE86 トレノ後期 4AG エンジン付き ラジコンボディ ホイール付き。14.4V仕様のため、かなりパワーがあります。【激レア】ミニ四駆 ファイヤードラゴンjr ボディ 当時物。本体に割れ等の大きなダメージはありませんが、ボディ部分には塗装剥がれがあり、細かな部品の欠品がある可能性があります。ReveD マルチセレクトナックル ナックルプレート。現状渡しとなります。ホビーラジコン KEYENCE SCANIA LION STAR。。HOBBYWING XERUN V10 21.5T G4R モーター。出品にあたり、一度分解、超音波洗浄清掃を行い、各部グリスアップしております。その際、フルベアリング仕様に変更しています。京商 ミニッツ ASC Mazda RX-7 イエロー(ROUTE 246)。HOBBYWING XERUN D10 モーター13.5T 美品。走行にはバッテリーが2個必要になります。バッテリー2個収納出来る場所あります。ドローン Potensic T18。童友社 R/C 1/16 M1A1 エイブラムス NATO軍迷彩塗装仕様。また、以下のパーツが欠品しておりますので、あらかじめご了承ください。・アクスルステー(長い方)×1・A4バッテリーカバー ×1状態につきましては、写真にてご確認・ご判断ください。Futaba R7103SB 受信機。タミヤ レイブリック NSX。内容をご理解いただける方のみ、ご検討をお願いいたします。バッテリーとプロポの電池は付属しません。O.S. MAX 46 FX エンジン 本体

同じカテゴリの 商品を探す

ベストセラーランキングです

このカテゴリをもっと見る

この商品を見た人はこんな商品も見ています

近くの売り場の商品

このカテゴリをもっと見る

カスタマーレビュー

オススメ度  4.7点

現在、3567件のレビューが投稿されています。